
Тактико-технічні характеристики міни ПМН-2
- Тип міни
- протипіхотна фугасна, натискної дії, остаточно споряджена
- Корпус
- пластмаса
- Вага
- 0.4 кг
- Вага вибухової речовини
- 0.1 кг
- Тип вибухової речовини
- ТГ-40
- Діаметр
- 120 мм
- Висота
- 54 мм
- Тип підривника
- механічний, вбудований, з механізмом дальнього зведення
- Тип механізму дальнього зведення
- пневматичний
- Час дальнього зведення
- 30-300 с
- Діаметр датчика цілі
- 97 мм
- Чутливість
- 5-25 кгс
- Температурний діапазон застосування
- -40 до +50 °C
- Спосіб встановлення
- вручну чи мінним загороджувачем ПМЗ-4П
- Забарвлення
- зелене, темно-зелене, коричневе з чорною хрестовиною
- Вигляд маркування
- чорне, наноситься на бічну стінку міни
- Маркування
- ПМН-2 - шифр міни;
42-М-41-81 - шифр заводу виробника - номер партії - рік виготовлення;
ТГ-40 - вибухова речовина
Підрив міни (при наступанні на датчик цілі) призводить до травматичної ампутації нижньої частини ноги, а також до вірогідного ураження вибухом другої. Під час вибуху людина може отримати такі супутні травми, як контузії, опіки вибуховими газами, ураження вторинними уламками тощо. При відсутності своєчасної домедичної допомоги, смерть наступає внаслідок критичної кровотечі.

Будова і принцип роботи
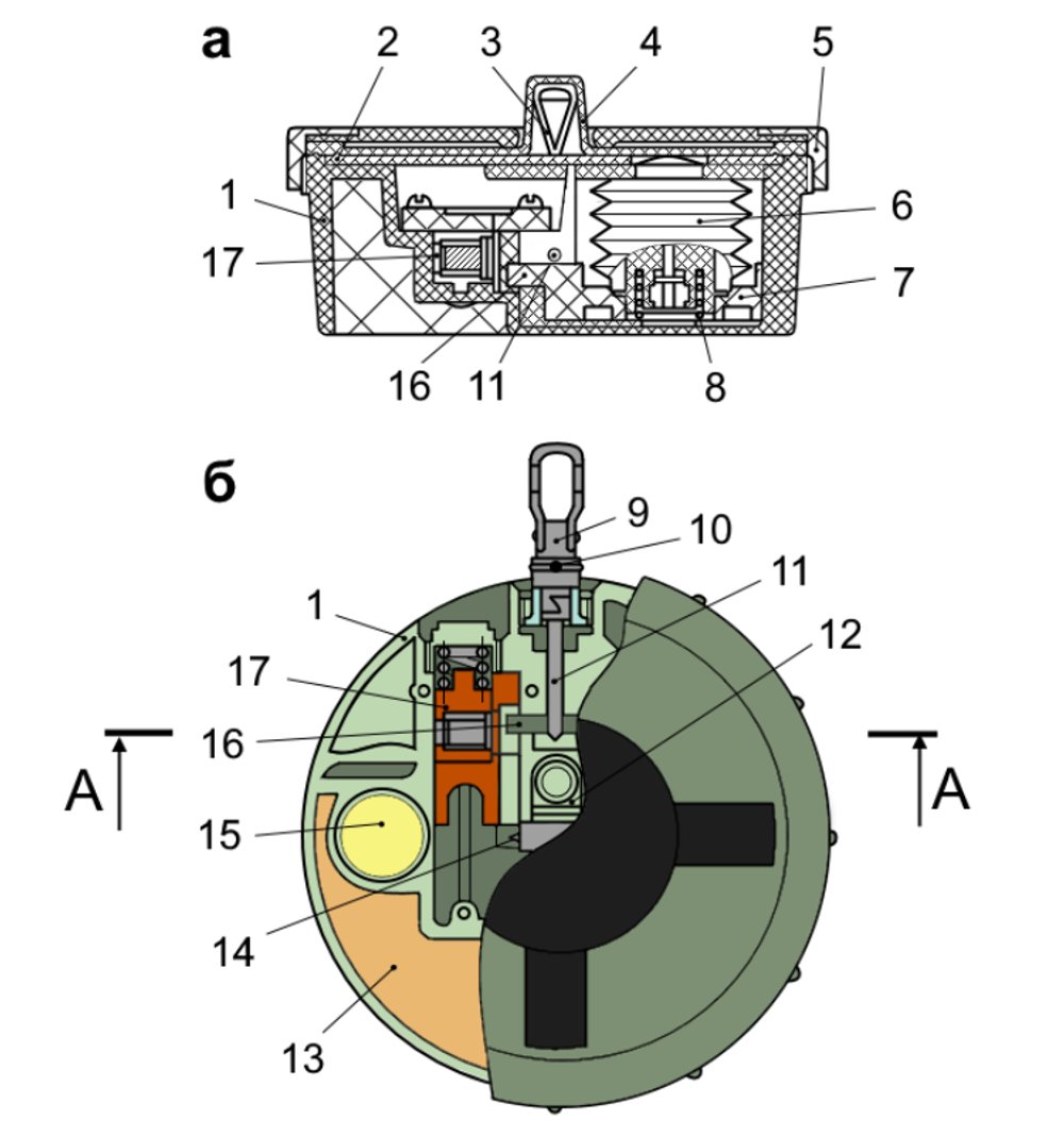
Міна ПМН-2 складається з корпусу, заряду, натискного датчика і вбудованого підривника з пневматичним механізмом дальнього зведення. Корпус (позн. 1) пластмасовий, з площинами під заряд і механізм дальнього зведення; один вертикальний і два горизонтальних канали для розміщення механізмів підривача. Згори корпус закритий кришкою (позн. 2).
Заряд ТГ-40 (позн. 13) має додатковий тетриловий детонатор (позн. 15), масою 4,5 г
Натискний датчик складається з підпружиненого штоку (позн. 12), розміщеного в вертикальному каналі корпуса. На шток спирається хрестовина (позн. 3), закрита резиновим ковпаком (позн. 4), закріпленим згори корпусу накидною гайкою (позн. 5).
Вбудований підривник запобіжного типу забезпечує розрив вогневого ланцюга міни (в транспортному положенні), зведення в бойове положення з уповільненням 30-300 с і підрив заряду міни при натисканні на неї (в бойовому положенні). Підривач складається з пневматичного механізму дальнього зведення, підпружиненого рушія (позн. 17) з капсуль-детонатором та ударника (позн. 14) з бойовою пружиною.

Механізм дальнього зведення складається з сильфона (позн. 6) та підпружиненої втулки (позн. 7) з діафрагмою. Втулка своїм зубом (позн. 16) утримує рушій (позн. 17) в транспортному положенні. Капсуль-детонатор відведений від ударника і додаткового детонатора, сильфон (позн. 6) заповнений повітрям. Втулка (позн. 7) знаходиться в нижньому положенні, стискає пружину (позн. 8) і утримується в цьому положенні штоком (позн. 11), з’єднаним замком з запобіжною чекою (позн. 9), котра фіксується зрізною чекою (позн. 10).
Ударник стискає бойову пружину та утримується в бойовому зведенні штоком (позн. 12) натискного датчика.
При повороті запобіжної чеки (позн. 9) зрізається чека (позн. 10), а при витягуванні запобіжної чеки зміщується шток (позн. 11), звільняючи втулку (позн. 7). При цьому втулка, під дією пружини (позн. 8), підіймається вгору. Сильфон (позн. 6) стискається, і повітря з нього витискається через отвір в діафрагмі. Через 30-300 с зуб (позн. 16) втулки звільняє рушій (позн. 17), котрий під дією пружини переходить в бойове положення, тобто капсуль-детонатор становиться навпроти ударника і додаткового детонатора.
При натисканні на датчик цілі - хрестовина натискає на шток (позн. 12). Шток опускається і звільняє ударник (позн. 14). Ударник, під дією бойової пружини, наколює капсуль-детонатор, котрий вибухає і викликає вибух додаткового детонатора і заряду міни.


Корпус міни може мати зелене, темно-зелене або коричневе забарвлення і чорну хрестовину.

Підготовка та встановлення
Міни ПМН-2 встановлюються :
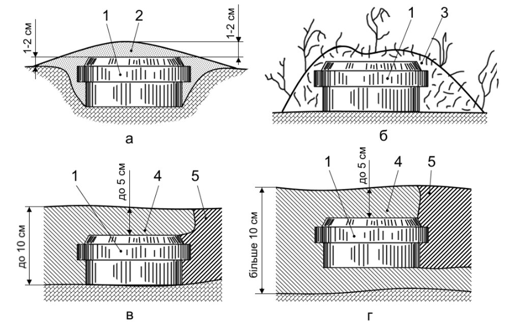
- Влітку в ґрунт або на ґрунту з маскуванням землею або рослинністю
- Взимку на поверхню ґрунту або в сніг з маскуванням снігом.
Взимку, при товщині снігу до 10 см, міна ставиться на поверхню ґрунту. Якщо ж товщина снігу більша за 10 см, міна ставиться в сніг.
У твердий утрамбований сніг міни встановлюються так само як і на ґрунт.

Встановлення мін в ґрунт вручну виконується у наступній послідовності:
- Викопати лунку по діаметру міни глибиною 3-4 см.
- Встановити міну в лунку.
- Повернути та витягнути запобіжну чеку.
- Замаскувати міну.
Встановлення мін в глибокий сніг вручну виконується у наступній послідовності:
- Видавити лунку в снізі.
- Повернути та витягнути запобіжну чеку.
- Засунути під сніг так, щоб маскувальний шар над нею був не більше 5 см.
- Замаскувати лунку пухким снігом.
Встановлення мін з допомогою мінного загороджувача ПМЗ-4П (з додатковим обладнанням для розкладання протипіхотних мін) виконується у наступній послідовності:
- Міни дістаються з пакувань і поміщаються в накопичувач.
- З накопичувача міни подаються в лоток.
- Сапери (дві особи), рухаючись за загороджувачем, відкопують лунки та встановлюють в них розкладені міни.
- Один сапер, рухаючись останнім, переводить міни в бойове положення і маскує їх.

Також міни можуть встановлюватись шляхом скидання з автомобіля.На автомобіль назначаються три-чотири людини, котрі розпаковують міни , повертають і витягують запобіжні чеки та опускають міни через борт автомобіля. Для отримання трирядного мінного поля скидання мін виконується зліва, справа і позаду по руху автомобіля. Міни, встановлені датчиком цілі донизу, зберігають свою дієздатність.

Знешкодження
Знешкоджувати міни ПМН-2 забороняється.
Встановлені міни знищуються:
- Вибухом заряду вибухової речовини масою 0,2 кг, покладеного поряд з міною.
- Багаторазовим проїздом по мінному полю танка з тралом (причіпними катками) чи без тралів (гусянкою).
Надійне спрацювання мін при проїзді танків забезпечується лише на рівній місцині.





