
Тактико-технічні характеристики міни ПМП
- Тип міни
- протипіхотна кульова натискної дії
- Корпус
- сталь
- Вага
- 0.145 кг
- Набій
- 7.62x25мм ТТ
- Довжина
- 120 мм
- Діаметр по накидній гайці
- 36 мм
- Чутливість
- 7-30 кгс
- Час приведення в бойовий стан
- миттєво після видалення запобіжної чеки
- Калібр кулі
- 7.62 мм
- Вага кулі
- 5.52 г
- Температурний діапазон застосування
- -40 до +50 °C
- Забарвлення
- голий метал або сіре
- Маркування
- ПМП - шифр міни
72-44-74 - шифр заводу виробника - номер партії - рік виготовлення
Будова і принцип роботи
Міна ПМП складається з корпуса, ствола, натискного спускового механізму та пістолетного патрона (7.62x25 мм ТТ).
Корпус (позн. 11) міни - металева гільза, в середині котрої знизу закреплено бойок (позн. 12).
Ствол (позн. 8) не має нарізів, канал гладкий. В нижній частині каналу розміщено пістолетний патрон (позн. 10). Ззовні на верхній частині ствола наявна кільцева виточка, в котру входять кульки спускового механізму.
Натискний спусковий механізм слугує для утримання ствола на бойовому зведені та для приведення міни в дію. Цей механізм складається з втулки (позн. 1), муфти (позн. 6), бойової пружини (позн. 7) та шайби (позн. 9), одягнутих на ствол, двох кульок (позн. 5), запобіжної скоби (позн. 3) з кільцем (позн. 4). Згори втулки нарізані поздовжні пази, в котрі входять перемички муфти.
Кульки, розміщені в отворах муфти, входять в кільцеву виточку на стволі і впираються у втулку, утримуючи ствол у бойовому зведенні. Втулка утримується у верхньому положенні підтиснутою бойовою пружиною. Згори втулка закрита гумовим ковпачком (позн. 2). Запобіжна скоба (позн. 3) встановлюється на втулку ззовні гумового ковпачка, утримується на ньому з допомогою відкидного кільця (позн. 4) і запобігає переміщенню втулки вниз. В зібраній міні корпус і натискний механізм (зі стволом і ковпачком) з’єднані з допомогою накидної гайки (позн. 14) та гайки (позн. 13).

Пістолетний патрон (позн. 10) закріплено в стволі гайкою.

Міни комплектуються металевими штирями (1 шт на 32 міни) та фанерними опорними шайбами (1200 шт на 6000 мін).
Металевий штир слугує для пробиття в ґрунті лунок для встановлення мін.
Фанерні опорні шайби (розміром 10х10 см) використовують для збільшення опорної поверхні міни при встановленні її в рихлому снігу та на болотистому ґрунті.
При натисканні ногою на гумовий ковпачок (позн. 2) (при умові знятої запобіжної чеки) втулка опускається вниз, зміщується відносно муфти і ствола та додатково стискає бойову пружину. Коли нижня частина пазів втулки вирівнюється з кульками (позн. 5) - останні випадають в пази та звільняють ствол. Ствол (разом з патроном) переміщується під дією бойової пружини вниз і б’є капсуль-детонатором патрона о бойок (позн. 12). Виконується постріл і куля вражає стопу, вилітаючи вгору через ствол.

Підготовка та встановлення
Міна ПМП встановлюється в ґрунт або в сніг.
Для встановлення міни необхідно:
- Штирем пробити в ґрунті лунку для міни.
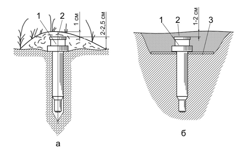
- Тримаючи міну за накидну гайку, встановити її в лунку таким чином, щоб гайка спиралась на ґрунт; гумовий ковпачок має бути піднятим над поверхнею ґрунта на 2-2.5 см.
- Стиснути кінці запобіжної скоби, відкинути з ковпачка відкидне кільце і зняти запобіжну чеку з міни.
При встановленні міни в м’який болотистий ґрунт або рихлий сніг на міну знизу одягається фанерна опорна шайба. Але лунка, в такому випадку, робиться не штирем, а безпосередньо міною, шляхом втискання міни в ґрунт (сніг). Натискати на міну варто на накидну гайку до упору опорної шайби на ґрунт (сніг). Сніг або ґрунт під опорною шайбою ущільнюється і міна маскується шаром ґрунту (снігу) товщиною 1 - 2 см.

Пошук та знешкодження
Встановленні міни шукаються з допомогою міношукача.
Для знешкодження міни необхідно:
- Обережно зняти з міни маскувальний шар.
- Не натискаючи на ковпачок згори, встановити на міну запобіжну скобу та зафіксувати її відкідним кільцем.
- Дістати міну з ґрунту, взявши її за накидну гайку.
Не рекомендується знищувати встановлені міни підривом накладних зарядів вибухової речовини, проїздом танків та тралів або прокатуванням катків, позаяк при таких варіантах великий відсоток мін може не спрацювати і зберегти свої працездатність.
